
喷淋塔废气处理设备
一、废气洗涤塔工作原理
洗涤塔又称喷淋塔,由塔体,塔板,再沸器,冷凝器四个部分组成。洗涤塔是进行粗分离的设备,所以塔板数量一般较少,通常不会超过十级。洗涤塔适用于含有少量粉尘的混合气体的分离,各组分不会发生反应,且产物容易液化,粉尘等杂质不易液化或凝固。
当混合气从洗涤塔中部通入洗涤塔,由于塔板间存在产物组分液体,产物组分气体液化的同时蒸发部分,而杂质由于不能被液化或凝固,当通过有液体存在的塔板时将会被产物组分液体固定下来,产生洗涤作用,洗涤塔就是根据这一原理设计和制造的。

洗涤塔原理主要是根据臭气的成分利用强酸(硫酸)、强碱(氢氧化钠)、强氧化剂(次氯酸钠)作为洗涤喷淋溶液与气体中的臭气分子发生接触,使气相的臭味成分转移至液相,并借助化学药剂与臭味成分中和、氧化反应去除臭味物质。
常用的洗涤设备为填充塔,化学吸收液从塔顶往下喷淋,废气向上流,臭气与吸收液充分接触、反应从而被去除。吸收液与废气流量比例(液/气比)一般为1-3 L/m3,填料高度一般为2-5米,气体空塔流速一般为0.5-1米/秒。操作良好的填充塔,除臭效果可达到90%以上。

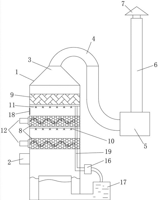
洗涤塔结构图
二、废气洗涤塔常用的化学吸收剂
1)碱性溶液
碱性吸收液常用含有1%~10%的氢氧化钠溶液,对消除硫化氢废气效果显著,其它如甲硫醇、硫化甲基、二硫化甲基、低级脂肪酸等经常在废水处理场造成臭味的物质,处理效果也很显著。
2)酸性溶液
酸液洗涤主要用于消除由氨、三甲胺等碱性气体所致臭味,一般使用硫酸 (0.5%-5%的溶液)作为洗涤液。
3)次氯酸钠溶液
次氯酸钠一般与酸碱性吸收液一起使用,对于其它方法很难消除的硫化甲基,使用次氯酸钠吸收液的控制效果甚佳。
处理高浓度臭气时,次氯酸钠溶液浓度 (有效氯浓度) 约为500~2000 ppm;而处理较低浓度臭气时,使用次氯酸钠溶液浓度约50~500 ppm。以各项氧化剂的性能而言,次氯酸钠最便宜,处理效果好,所以使用广泛。在溶液中的次氯酸钠以次氯酸 (HOCl)形式存在:NaOCl+ H2O→HOCl+ NaOH
在pH=7.5,次氯酸盐溶液的有效氯以50% HOCI和次氯酸根离子(OCl-)存在;
在pH=l0,只有0.3%有效氯以HOCl存在;
pH=l1或12,HOCl几乎完全解离成无用的次氯酸根离子,因此pH值控制很重。
三、废气洗涤塔性能特点
1)洗涤塔处理系统,价格便宜、处理方法简单;
2)直立式结构最适用于经济空间安装;
3)适用于气态及液态污染源;
4)处理单一污染源;
5) 适用于中低风量;
四、废气洗涤塔适用范围
1)各种有害气体如H2S、SOx、NOx、HCI、NH3、CI2等气体的处理;
2)垃圾中转站、污水处理场的除臭装置;
3)半导体光电业的排气处理;
4)垃圾填埋场的渗出水、贮留池废气处理;
5)焚化炉及工业炉等排放的废气处理。
上海科雷傲实验专业承接全国各地各类实验室整体规划设计、实验室整体装饰装修、实验室废气处理、实验室气体管路设计与施工、实验室净化工程等实验室相关领域项目,是国内实验室建造行业从毛坯房到标准化实验室一体化交付工程总承包商。真诚对待每一个客户,我们都会免费派遣资深设计人员上门测量,并根据现场及您的要求用专业绘图工具绘制平面图及立面CAD效果图,做出您最满意的实验室布置方案。一次合作,一生朋友!任何时间、任何地点,无论您有任何实验室问题,都可以联系:13524401199 QQ:2582327466 李先生。